電磁自卸式除鐵器安裝示意圖是什么樣子的,RCDC系列風冷自卸式電磁除鐵器,是在RCDA系列風冷懸掛式電磁除鐵器的基礎上增加了驅動電機、滾筒、帶刮板的卸鐵膠帶等組成的卸鐵機構。在工作過程中卸鐵機構自動將卸鐵皮帶上吸附的鐵磁性物質拋到除鐵器以外的集鐵箱內,無需停電人工清理,實現了除鐵自動化。 在鋼鐵廠、水泥廠多用于礦渣除鐵和保護輥壓機、立磨、破碎機等重要設備。
一、電磁自卸式除鐵器安裝技術特點
1、用于粒度較小、灰塵大、含鐵量高、連續輸料的生產線上。
2、選用特有溫升控制技術,可以有效控制溫升,延長壽命。
3、采用結構緊湊,易維修,卸鐵皮帶能自動糾偏。
4、采用特有的磁系結構設計,冷卻效果好,溫升低,噪音小。


二、電磁自卸式除鐵器工作原理:
當顆粒狀物料經過永磁自卸除鐵器的正下方時,混雜在物料中的鐵磁性雜質大約0.1—0.36公斤被吸起,由于除鐵器上的皮帶不停的運轉,當吸附在上面的鐵磁性物料經過無磁區時,便被皮帶上的鐵件刮出,扔進集鐵箱,從而達到連續自動除鐵的目的。
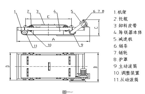
三、電磁自卸式除鐵器安裝示意圖


